Checkerboard


April 2025

In This Issue
  • 2025 AAAA Convention: Register to Attend Today!
  • The Hunt
  • The Hunt: Eric Schwartz
  • The Hunt: Rosalind Mohnsen
  • The Hunt: Jesse Camelleri
  • The Matchbook's Odd Cousin
  • Spring 2025 Indy Ad Show
  • Fun Finds
  • 1000 Words: How Pictures can Help Tell the Story of Antique Advertising: Part II
  • Video: Brooks General Store, Rugby, Tennessee

2025 AAAA Convention: Register to Attend Today!

By John DeVolder, Convention Co-Coordinator

Join us this coming July in Dublin, Ohio! Our 2025 convention promises to be an event to remember with seminars, buying, selling, fun and comradery. We will be joined this year by members of the Ice Screamers, Graniteware, and Treasures for Little Children groups, as in past years.


Pre-convention room hopping will start the week off on Tuesday, July 15th. Last year we had several members come in early, even on Monday, in order to set up their rooms and relax before the very busy schedule begins on Thursday. In order to keep our registration costs down, we are renting the large ballroom for only one day. Thursday will begin with our business meeting at 9:00 am, sandwich buffet at 12:30 pm, and a plated dinner at 6:00 pm. In between, AAAA will present two seminars and the Ice Screamers will present one seminar and an ice cream social. Certainly, a busy day and you may wish to pick and choose your events. Did I mention raffles and room hopping?


Friday will be an entire day of room hopping. In the past we have promoted our room hopping to the public through social media and printed advertising with somewhat mixed results. Last year we had about 50 guest attendees. My target for 2025 is to have a minimum of 200 people come in on public day, and I hope for a lot more!


2,500 show cards have been printed for this event. In my 50-year experience of hosting shows I have found that the show cards-properly distributed are the best promotion for attracting attendees from the public. Your help is needed! We need to saturate the mid-Ohio area with these cards. They can be put out at various antique shows and shops, antique co-ops, community bulletin boards, grocery stores, bank bulletin boards-anywhere the public might see them. Phone, text, or email me and I will send you as many cards as you think you will use. I can always print more. The Rochester bottle show goes through 5,000 cards. Let’s get them out to the public! (The Rochester bottle show only uses social media and show cards with an attendance of approximately 800 people).


Fred Dodge did a great job of handling the public day social media promotions last year and will be doing it again this year. We will be sending out the social media links to you. Please forward these links to all of your contacts if you are able.


SEMINARS

 

"The Lithographs of Rochester" Presented by John DeVolder


Rochester, New York has been labeled America’s first boom town. From the humblest of beginnings shortly after the American revolution, early settlers began to develop the town from a tract of 100 acres purchased in 1803. Rochesterville, with a population of 800, was incorporated as a village in 1817. Construction of an 800-foot-long aqueduct over the Genesee River was completed in 1823 as part of the Erie canal system which was finished in 1825. Rochester was to see a phenomenal growth to over 12,000 citizens when it became a city in 1834.


Rochester was to go on to have a lot of firsts and a rich history of many industries. A Powerpoint program will be presented that will encompass those industries and products. Flour was one of the first industries and Rochester would be known as "The Flour City". Starting in the 1830’s horticulture would develop and the seed industry would blossom. By 1850, Rochester would then be known as the "Flower City".


The many seed companies located there would produce not only the seeds, but many, many colorful lithographs, labeled product boxes, catalogs, cards, and stationary to promote their products. John will explore those products and the companies that produced them, for example; Vick, Briggs, Brown, Crosman and numerous others.


Many other industries will be discussed with the beautiful lithography shown. Some examples are the tobacco industry of Hess and Kimball, clothing and shoes, whiskey, patent medicines, ice cream, and more-perhaps even some brewery! We will also talk about the quality lithographers of Rochester-Stecher, Rochester, Karle, and more. Join John for an entertaining hour.


John DeVolder's Bio: In the 1950’s I began to collect stamps and coins. Coins were a favorite because I could go into my parents change cup and come out with liberty head dimes, quarters and more. On one of my many walks in the woods about 1960 I brought back a stoneware ginger bottle that propelled me into collecting bottles. In 1969 I was instrumental in helping to form the Genesee Valley Bottle Collectors Association. I was drafted the same year. Returning from duty in 1971 my interests turned to beer cans and brewery collectibles-as well as bottles. I loved the beauty of lithography and have bought as much as my spare income could afford, with an eye on local material. I have been active-being officers and running shows-in both the bottle and beer worlds for the last 50 years. I finally joined AAAA about ten years ago and with my bride Marianne, chaired last year’s convention.


"The Artists of Coshocton" Presented by Bill Carlisle


Coshocton, Ohio, the only place in the world with that name, has as much a storied past as Rochester. The town of 12,00 lies at the confluence of the Walhonding and Tusarawas Rivers, headwaters of the Muskingum River in east central Ohio. The town was established in 1802 and would become the birthplace of the specialty advertising industry in 1886


Mr. Jasper Meek, as a way to increase utilization of his weekly newspaper’s printing press, launched this new industry. This company grew from three employees to one with over three hundred employees with world wide sales. This plant was so successful from the start that more than twelve rival companies were formed in Coshocton, making specialty advertising the leading industry of this small city. A trade magazine of the day estimated that 75% of all metal signs in the world came from Coshocton. With the exception of New York City, the industry brought the largest colony of artists in the nation, to Coshocton.

 

In 1992 Bill Carlisle and Joe Kreitzer had the opportunity to walk through the old Standard Plant of the Art Works just prior to its demolition. They spent many hours searching the two buildings and connecting walkway, finding a paint shop, and artist studio with tables made from giant lithograph stones, the battery of curing ovens, tool rooms and several Coca-Cola signs lining the walls of both buildings. The walk into the time capsule propelled them to learn all they could about this industry from 1886 to 1963. Over the next several years they spent their weekends talking to everyone they could find that had anything to do with the Coshocton advertising industry, including the heirs of those people. Bill and Joe would devote their lives to learn everything they could about the Tuscarora, Standard, Novelty, Coshocton, The Meeks, The Beach’s, The American Art Works, and the other Coshocton Companies.

Join Bill for a superb seminar about the industry and the people that made that industry and the products that we all enjoy today. More can be learned from Bill’s excellent booklet “The Men OF Steel” published by the Johnson Humrickhouse Museum of Coshocton in 2024. Bill has also curated and works with the museum on the advertising exhibits.


Bill Carlisle's Bio: Coshocton Ohio has been a very important part of my life. Being the home of my mother's family for four generations, I spent many summers kicking around the old cabin in the country which I now own. Introduced to our hobby at the 1973 BCCA Convention in Cincinnati, I started to buy signs and trays at auctions and yard sales in Coshocton and the surrounding areas. Nearly every sale included signs and trays made in town. We would attend church socials where the ladies would serve us noodles and sloppy joes on vintage beer and coke trays. Nearly very church in the county had a stack of trays. I began spending my afternoon sitting on the porches of former employes listening to their stories of working in the factories. Russ Schoonover had a tackle box made from Cook's beer signs and dust pans made from cutting the end off of Rockwell coke trays with a handle welded on the other end. Since the 1970's I have been avidly collecting self-advertising calendars, signs, trays and celluloid items from the Coshocton companies.


CONVENTION INFORMATION FOR THOSE PLANNING TO ATTEND


The upcoming AAAA Convention will take place July 15-19, 2025 at the popular Embassy Suites in Dublin (Columbus), Ohio. Now you can reserve your room at a special rate of $142 per night (plus tax) and register for the convention at $125 per person. Do not miss out-this year promises to be a fantastic convention!


CONVENTION REGISTRATION INFORMATION


To register to attend the 2025 AAAA Convention online, Click Here.


Or Click Here to print a registration form. Complete the form and return it to AAAA with payment. The registration deadline is June 15, 2025.


HOTEL RESERVATION INFORMATION


Important notice: Attendees must make their own hotel reservations.


To reserve a room at the Embassy Suites, 5100 Upper Metro Place, Dublin, OH 43017, Click Here


Or call the Central Reservations Number: 800.220.9219 and provide the following information: Group Name: 2025 Antique Advertising Association of America Convention; Group Code: 94L


Group Room Rate: $142 + Tax


THE HOTEL RESERVATION DEADLINE is Tuesday, June 15, 2025, at 11:59 PM.

"The Hunt" Series

Editor's Note: In the February, 2025 issue of the Checkerboard, we introduced a new series entitled "The Hunt". This ongoing series will chronicle the collector's quest for vintage advertising acquisitions. In this issue, we are pleased to bring you three additional contributions.


Do you have a story to tell about a long vexing search, a surprise find, an uplifting experience, or even a tale of "one that got away"? If so, please submit it to plefkov@gmail.com so it can be shared with our readers. If you don't submit materials, we have nothing to print!

The Hunt: Eric Schwartz

This happened sometime in the late fall of 2023. We live in Bloomfield, CT, just outside of Hartford. My wife and I were going to estate sales in our area. We had already been to a few and didn’t find much in the way of advertising. While my collection is primarily tins, I do have a variety of other types of advertising, so I am always on the lookout. Suffice it to say, my wife is very tolerant of my “disease”. Anyhow, we passed a sign for an estate sale and I was a bit disheartened by the lack of finds, so I initially said to pass it up, but she encouraged us to go. So we went. 


We arrived at the sale which was in a nice, big house on a wooded lot. From the the outside there was "stuff" piled outside of the garage and in the garage, but a lot of it was big furniture, so it was not my thing. We perused the furniture before we went inside. It was moderately packed with other pickers. As we entered the house, it was also packed. Unfortunately, it was packed with mostly expensive asian antiques, more big furniture, artwork, and lots of household stuff. I was not feeling it. 


We began walking around the house (which was very large). As I was walking, I noticed a small plastic baggie on a table containing a small cardboard box, that was whole and also in some pieces. But it had some cool advertising on it for cigarettes and was definitely old. No price. I went to the gentleman running the sale and asked him how much. He looked at it and said, "$3.00". Well, for 3 bucks, I’ll buy any old advertising piece. We didn’t find anything else at the sale.


When I got home I looked more closely at the box. Since I don’t know anything about old cigarettes boxes, I decided to post a picture of it on one of the FB groups I am part of that is dedicated to tobacco collecting.  Literally, within 5 seconds of my post, another member messaged me and said he would immediately give me $500.00 for it. You can imagine my shock! I thought, “wow, this is my Antique Roadshow find”.  


What followed was a week's long process of people expressing interest in the box, offering varying amounts of money, and my own back-and-forth rumination about whether to keep it or sell it. Several of the people who contacted me gave me a really good education about the piece, which I truly appreciated. Eventually, after many conversations as well as my own ambivalence, I made the decision to part with the box. I decided that there was someone else whose primary collecting passion was cigarette boxes and that something this valuable and rare should go to them. All in all, it was an exciting experience as well as a profitable one (which allowed me to buy more tins). I also remind myself every time I am out at estate sales that you really never know what you might find and that the hunt sometimes offers magical moments. Here are some pics of the box:

The Hunt: Rosalind Mohnsen

Most of my finds are unexpected and then become the start of a new collection. Years ago, I found a Nebraska (my home state) 1919 vehicle license plate in New York City. And that was my mother's birth date! The plate is 15" x 6" (left image, below). I have several 1932's that were saved by my father.  

 

On my first trip to Quebec City (a favorite destination) in 1979, I purchased a 1978 plate as a souvenir. On a visit to the same city last summer, I found several shops selling old plates, and now also have 1960, 1961 and 1964 (right image below) examples. They are 12" x 6".  

 

I will only add plates from these two places.

The Hunt: Jesse Camelleri

Hello. In reference to the idea of "hunt" articles. Here is mine. I'm a new member to the club, but a long-time collector. My passion is Mr. Peanut/Planters Peanut collectibles. 


When thinking about sharing, I thought of some things that, although they won't be anything new to serious collectors, they may help some of the newer or novice collectors. Any of us that have been doing this for a long time, know that our marketplace has drastically changed over the years. While we used to have to physically go somewhere to find items, now there are many other avenues to find them. Many of us have adapted, but some have not. While having more places to search at our fingertips is helpful, it requires time. This all made me think that, while the marketplace has changed, there are certain principles that have not. I'd like to mention some. This is not meant to be a complete list, but some that I feel are very important to the success of any collector. 

 

First. You get out of it what you put into it. If you don't look, don't be surprised that you're not finding anything. Sounds simple enough. But it is often taken for granted. When most people see my collection, or pictures of it, I'm asked how i found all this stuff. One of my first thoughts is, "I didn't find it sitting on my couch". (Although technically, some of it I did.) But metaphorically speaking, not--it takes effort looking, asking, fand ollowing up. We'll get into that more later. 

 

Second . Networking. Knowing dealers, and fellow collectors is very important. Building relationships. Joining clubs like this one, or other specific clubs is a great way to get to know people. This is helpful in many ways. 

 

Third. Become an expert in your field of collecting. Learn about fakes, reproductions. Learn values. (More than just ebay sales). Learn about rarity. Knowing how many of an item you want even exist is of utmost importance. There are some items we may only get one chance at buying. Better to know that beforehand than to have regrets later for not. 

 

Fourth. Tied to Networking. Buying extra items in your genre that can be resold or traded is a huge plus. If you can make a little profit it helps fund another purchase. Also, and maybe more importantly, if you have items available for sale or trade, it may make another collector more likely to give you first chance at something extra they found that you need. Of course they're hoping it's a two way street and that benefits both of you. 

 

Fifth. And very important. Be willing to step up to the plate. After all the searching, following up, etc... when you find what you've been looking for. Unless there's some unforeseen circumstances, if you have the means, seal the deal quickly. Sometimes the slightest hesitation can cost you the opportunity to buy what you've been looking for all this time. We all want good deals and many times we get them. But sometimes the deal is opportunity alone! 

 

Lastly. Be willing to do what it takes. For us serious collectors we will go to great lengths to acquire items of interest. I have personally driven 2,000 miles in 48 hours and did an auction in between, but mostly in order to pick up some rare pieces I wanted. Most people would think I'm crazy, and they're probably right. But I have a few pieces no one else has because of it. And also some interesting stories. 

 

I hope this has been helpful to some. And maybe a reminder to some of us, that, while the times they are a changing, some things remain the same. I will close with a brief story of getting a great item.  

 

A few years a go I was scrolling through Facebook and saw a post. I was looking at the comments and noticed one picture comment. No text. It was of a rare Mr. Peanut statue. I already had one, but the only thing better than one, is two. Lol. Also, not knowing the person, I figured, if they had this, they may have other items. So I sent them a message. A few weeks went by with no response. I figured it was a dead end. Lo and behold, one Sunday afternoon, my phone makes a noise. It was a message from that person. They stated the one I saw was not their statue but they had this other old statue if I was interested.

I was shocked beyond belief when I saw the picture, as it was rarer than the one they had posted. We dialogued and made a deal. I couldn't get there until the following Friday.


Needless to say, I hardly slept that week. He was 6 hours from me. I left work early Friday afternoon and got to his house at 10 pm. He had to work Saturday early, so that was out of the question. Had to be Friday night.


He asked me where I was from and how far it was. I told him and he was surprised I would drive that far for this item. I was thinking to myself, I would have driven 4 times as far if I had to! Anyway, I loaded it up and drove straight back home. Diligence pays, and a little luck doesn't hurt either. 

 

Happy hunting!! A photo of the 9 foot tall statue appears to the right.

The Matchbook's Odd Cousin

By Don Thornton

Matchbook covers have been a colorful mainstay of advertising for decades.


Described at times as “miniature billboards” they trace their history in America to September 27, 1892, the date Joshua Pusey of Lima, Pennsylvania, was awarded a patent for a “flexible match.” It was Pusey who coined the term “matchbook” in his patent papers


He said his invention consisted of friction matches “attached to and enclosed in a suitable cover folded and adapted to be opened and closed as the covers of a book” and such a “match-book may be conveniently carried in the pocket.” (Image, right)

Collectors of matchbooks are so numerous their hobby has its own word: “phillumeny” with individual collectors described as “phillumenists.” It’s been a long favorite of advertisers with the matchbook industry boasting of up to 28 ad impressions per single matchbook. (The cover would be looked at 20 times as the user went for a match with the people around the user exposed up to eight times.)

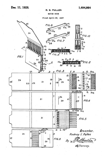
Now meet the matchbook’s odd cousin – the “pull quick” and its inventor, Rodney S. Pullen, whose ingenious idea was for the match to ignite when pulled out of its package.


He took the external striking surface of the matchbook of the day and put it inside a sealed, thin, folded cardboard box holding a row of wooden matches in their own slots. Pull quick on the match and it would engage with the hidden striker and emerge lit. In fact, the new match packet was branded the “pull quick.”


Pullen was granted Patent No. 1,694,864 on December 11, 1928 for his “match box” holder “so formed that it acts as a protection to the matches and, at the same time, causes them to be ignited during the act of separately withdrawing the matches from the holder.” (image, below)

The patent also said the match packet would “provide suitable parts upon which printing may be readily placed for advertising or other purposes.” The new match packet was novel, even innovative, but despite expectations to the contrary, it was all for naught. Simply put, Pullen’s packet contained only 10 matches, far less than standard matchbook, and was much more expensive to manufacture.


Easy to use to light the kitchen stove, or more likely cigars and cigarettes, it made it to market in 1929 with a “your company name here” branding flash, but slowly faded away over the years. The small box is just under 2-inches wide, just over 2-inches high and about ¼-inch thick. They are marked on the bottom: PULLQUICK PAT. NO. 1,694,864 – PAT. PEND. THE DIAMOND MATCH CO. NEW YORK. (Images, below)

Pullen, who listed his residence as Atlantic City, New Jersey, obtained financing and in 1928 launched his Pullenlite Company in Philadelphia. The next year, Pullenlite licensed its patent to the giant Diamond Match Company, the country’s biggest matchmaker at the time, but continued its own limited production.


Sales did not match Ohio-based Diamond expectations and Diamond bowed out in 1935, but reportedly continued to manufacture some branded packets for a few more years. For example, a 1941 newspaper ad offered a book of 10 pull-quicks for 5 cents –whereas books of regular matches were free from their brand sponsors. (Image, below)

Pullen died in 1944 at the age of 66 and shortly thereafter the then much-in-debt Pullenlite Company went out of business.

           

SIDEBAR: Rodney Pullen and his wife, the former Almy Purves Hueber, had three sons, one of whom became a Hollywood celebrity with the stage name of “Dr. Horatio Q. Birdbath.” Strangely enough the celebrity son was named after his mother, and went by the nickname by “Purv. ” He was known nationally in the 1930s for his mimicking of birds and animals.


According to Wikipedia, he was the voice of Cheetah in Tarzan films, his bird sounds were featured in Snow White and the Seven Dwarfs and his vocal squawks appeared in Mickey Mouse, Betty Boop and Popeye cartoons. In 1945 he joined Spike Jones with sound effects and comic gimmicks on many Jones recordings. It was Jones, the popular bandleader who specialized in spoof arrangements, who gave Purve the name “Dr. Horatio Q. Birdbath.”

 

In his later life, Purv Pullen moved to Vacaville, California where he performed puppet shows at the Nut Tree restaurant in the 1970s and 1980s. He died in 1992 at the age of 83.

Spring 2025 Indy Ad Show

The Spring installment of the Indy Ad Show took place on Sunday, March 22. The show has been relocated to a much larger venue within the Indiana State Fairgrounds. Response to the new "digs" was very positive from both buyers and sellers.


Show owner, Damon Granger reported that the event took place in its new home without a hitch. "We had a great weekend for weather this time around. The attendance was up 40 percent through the front door. The vendors did well from the feedback I received."


As always, the show featured the "best of the best" and many attendees could be seen carrying bags with their new acquisitions. Photos taken at the show appear below.

It should also be noted that Damon has become part-owner of Granger Wolf Productions which now runs the Chicagoland Antique Advertising, Slot Machine and Jukebox Show (also known as the "Coin-Op Show"). This show is conducted in the spring and fall of each year at the Lake County Fairgrounds Event Center, located in Grayslake, Illinois, just outside of Chicago. The next show is scheduled to take place on Friday May 30, 2025. This event has been a respected and popular venue for collectors for many years. For further information, visit the show's web site at https://chicagolandshow.com/.

Fun Finds

Robert and Mary Ann Ray purchased the three items shown below at the most recent Indy Ad Show. Mary Ann bought the poster, which is 21" by 25.5" and it was subsequently framed. Robert purchased the other two nice items. They reported that it was a great show and that they were there for five hours.

1000 Words: How Pictures can Help Tell the Story of Antique Advertising: Part II

By Ken Opengart

Editor's Note: In last month's PastTimes issue (March, 2025), we published an article authored by AAAA member, Ken Opengart about vintage photographs featuring veterinary advertising. We are pleased to follow-up this month by making Ken's entire extensive collection of veterinary advertising photos available to our readers. The collection consists of an unbelievable 187 fascinating images! To view this one-of-a-kind collection, click here. Our thanks go to Ken for his willingness to share this unique and important collection with our members.

Video: Brooks General Store, Rugby, Tennessee

Kick back and relax for about 30 minutes as the great-grandaughter of the founder of a 1917 general store shares the store's fascinating history. At the time the video was made, the store was still actively functioning, serving the local community with food, essential products, and lots of fellowship.


This soulful video follows the travels of a charming couple as they visit the store and meet the current owner. Together, they discuss the store's history and evolution through the years. This well-done video with background music presents detailed views of the vintage structure which has changed little over the years. The surrounding community is also highlighted. Viewers of this heartfelt video will feel like they actually visited this precious slice of history. To do so, just click the You Tube link below.

Wanted Items

In this column are those sought-after items of desire that seem to be elusive. If you know where any of these items can be acquired or if you have one available, please click the link to reply directly to the seeker. To place a listing in this column, click here. There is no fee for AAAA members. Up to three listings per member are permitted.


Clover Farm Stores (Cleveland, OH headquarters). General store grocery and hardware items, any advertising, displays, signs, tins, boxes, pictures, etc. Anything related to Clover Farm Stores. Dave and Sally Coates, 765-586-9834, dbsjcoat@gmail.com


Early Mr. Peanut/Planters Peanut memorabilia. The older and rarer the better! Please contact at jcamelleri@gmail.com or 864-327-6485. 


Santa Claus bar soap. Call 602 689-7779 or send email to goodfinds31@yahoo.com


"You Pay" Spinners Wanted. Colorful, early, tin litho only. Also known as "Who Pays" Spinners, "Your Turn" Spinners, etc. Used in drinking establishments to determine who pays for the next round. Please contact plefkov@gmail.com.


In search of Raven's Horse, Cattle & Poultry Food poster. Last sold Showtime Auction, April 2013. Dimensions: 13 1/2 x 21 1/2. Motivated buyer. Please call Ken Opengart at 256-520-5211 or email at kenopengart@gmail.com. To see a photo of the poster, click here.


US cigarette boxes, packs and wrappers from 1870-1935 wanted. Please text or email any you might have available for sale. Jon Canfield, joncanfield@gmail.com, 917-841-0275.


Pre-1885 advertising items related to barbed wire and farm fences. I am interested in primary material. Let me know if you have any items including illustrated catalogs, wire company published newspapers, illustrated postal covers and letterheads, flyers, signs, salesman samples, patent models or anything else related to my specific wants. Larry W. Love, wirefence@att.net, 214-497-6787.


Bulldog tobacco oval-top tin. Convention Hall coffee tin (Ridenour-Baker Kansas City) green version. Big Horn 1 lb or 3 lb coffee tin.  Tuxedo tobacco sample pocket tin (top condition). scross1@cox.net.


Philip Morris Tin & Porcelain Advertising Signs, thermometers, door push signs. Excellent to mint condition preferred. Daryl Crawford (804) 721-7294 or email drc4@msn.com


Justrite Pet Foods. The Justrite Company General Office was located in Milwaukee WI. A National Account. Advertising, displays, signs, tins, boxes all with logo on it. Most would come from the 1930s through 1950s. Thanks for the help… Gordon Addington. To reply, click here.


Old Topper Brewery Calendar of the late 1940s featuring a pin up artist nude in large format wanted. Always seeking any Rochester Brewery memorabilia. John DeVolder 585-697-4047 or jcdvette@yahoo.com.

 

"Jenny" Genesee Brewing Company's girl of the 1950s. Seeking cardboard point of sale-and other items that feature Jenny, who had a ten-year run from 1953 to 1963. Also interested in any cardboard point of sale items from the 1930s through the 1950s from any of the Rochester Breweries. John DeVolder 585-697-4047 or jcdvette@yahoo.com.


Coca-Cola 24" button porcelain sign with bottle in center. Want several in as close to mint condition as possible. Call 336-970-9867.

 

Books on Oil & Gas Collectibles. Also looking for books on signs. Call 336-970-9867.


Yellow Kid wanted: 50 year collector looking for the unusual. Reply to: yellowkid@tds.net.


Pedal Cars: Photos, postcards, calendars, catalogs and advertising related to pedal cars. To reply, click here.


Beer cans, soda cans, beer and soda tin-over-cardboard signs, cork-backed bottle caps, key-wind coffee cans, quart oil cans. Please email Jeff Lebo at jefflebo@aol.com.


Pedal car related items. To reply, click here.


Matchbook holders. To know what these are, see my articles in Checkerboard

for Nov. 2020 and May 2021. I will consider all items, in any material from plastic to gold, and not necessarily with advertising. Email Andy at matchbookholder@yahoo.com.


Cigarette Packs. Advanced collector looking to purchase vintage packs. Please contact Dheeraj by email: DHEERAJ.KHIYTANI@GMAIL.COM.


Donald Duck Goyer Coffee Cans; One pound can & 3 oz sample size in good condition with lids. Please send email with photos & prices to Jessica_l_Upton@yahoo.com.


Morimura Brothers (Japanese import company operating in NYC from 1880-1941) advertising items wanted: trade cards, pamphlets, catalog pages, salesman sample pages, porcelain items with advertising. To reply email at victdelit@aol.com.

 

DeLaval Items and Farm Advertising Signs. Always looking for top quality and unique items. Contact Gregg Hillyer at hogs2gregg@aol.com.


Antique advertising pertaining to country store or drug store products or places. Especially those showing women or girls with the product or location shown. I would consider any  antique advertising (paper, cardboard & metal signs). Quality a plus! Dale Peterson at cpeters2@sbcglobal.net.


Unusual one pound peanut butter tins. Tin litho or paper label. To reply, click here.

 

Marshmallow Tins. Smaller than 5 Pound Size. To reply, click here.

 

American Cookie, Biscuit and Cracker Tins and Boxes. To reply, click here


Banjo related advertising wanted Pre-1940s. Long time collector buying banjo company signage, catalogs, billheads, periodicals, minstrel banjo items such as posters, broadsides, sheet music (pre-1870s) with illustrated banjo covers, early photographs showing banjo players (pre-1915). My main collecting interest is in 19th century material. To reply, click here.


"Antique American Medicine Bottles" by M. Knapp... soft cover book with price guide. Printed in 2012. Cemartinjr@comcast.net or 781-248-8620. Also, see my other want ad for Clarke’s ephemera and bottles.


Looking for 3 Vintage Tins. American Eagle "Oriental Mixture" tobacco (dimensions approx. 6.5" long, 2.75" wide, 1.5" tall); 1 Gal. Indian Head Hydraulic Brake Fluid; and Packham´s Caramel Toffee. Any offer is welcome and any condition considered. To reply, click here.


Morton Salt, older items, and also Pacific Coast Borax, especially a crate or box. Email pego1950@hotmail.com or call Peggy Dailey 612-522-9211.


Comic Book-Related Advertising Items: Must be from before 1980. To reply, click here.


Clarke’s Vegetable Sherry Wine Bitters, Sharon, MA & Rockland, ME: All sizes, variants, smooth/pontil base. Especially need labeled Clarke’s any size! Also, any Clarke’s ephemera…trade cards, almanacs, newspaper ads, etc. Charlie Martin Jr., 781-248-8620. Email: cemartinjr@comcast.net.


George Petty: Advanced collector looking for unique or rare items. Photo’s, store displays and non paper items. NO Esquire pages. Pete Perrault. To reply, click here or call (502) 290-7661.


Ice Cream Advertising: Mr. Ice Cream desires better graphic ice cream advertising including: postcards (Advertising and RPPC), trade cards, letterheads, billheads, booklets, poster stamps, blotters, magic lantern slides, pinbacks, watchfobs, and pocket mirrors. Allan Mellis, 1115 West Montana St. Chicago, Illinois 60614-2220. mellisfamily@rcn.com To reply, click here.


Stock food, poultry food, veterinary advertising wanted. Posters, medicine packages, give-aways. Email kenopengart@gmail.com or call (256) 520-5211.


Singer Sewhandy Model 20. Green-regular paint, not hammertone. To reply, click here.


National Biscuit Company, Nabisco, Uneeda Biscuit, Uneeda Bakers, Muth Bakery, NBC Bread toys, signage, tins, containers, displays, historical items. Please Email jbarney@ameritech.net or call (937) 205-2232.


Early Cigarette Rolling Papers: Pre-1940s - American, Zig Zag, Braunstein Freres, Bambino, and Ottoman papers wanted. To reply, click here.


Antique/Collectible Banking and Financial System "Giveaway" and advertising items. Specifically from Pennsylvania. Alarm devices and such. To reply, click here.


VITAMINS advertising, displays, signs, bottles, and anything related: Hadacol is an example. Most would come from the 1930s thru the 1970s. Also anything related to cod-liver oil and WEIGHT-LOSS, REDUCING, ANTI-FAT, and OBESITY ITEMS. To reply, click here.

 

Dwinell-Wright Co. Royal Ground Spice Cardboard Spice Boxes. One side displays horizontally. Approximately 3.75" by 2.25". Any type of spice is OK. To reply, click here.

 

ENSIGN Perfect and ENSIGN Perfection vertical pocket tobacco tins to enhance my collection. Feel free to contact me at 614-888-4619 or k8pyd@breezelineohio.net to see if you can help fill the voids.

        

Edmands Coffee Company, Edmands Tea Company, 1776 Coffee, American Beauty Tea, Japan Tea, Devonshire Tea, (imported by Edmands, Boston/Chicago): Any items such as tins, signs, paper, or anything else related to the Edmands family of companies in Boston is desired. To reply, click here.

The AAAA Checkerboard is a monthly e-newsletter that is made available to all AAAA members at no cost. The mission of the Checkerboard is to increase knowledge about antique and collectible advertising among AAAA members. The Checkerboard also provides news and updates about AAAA. It is produced each month with the exception of the four months per year when the award-winning PastTimes print newsletter is published. Paul Lefkovitz (plefkov@gmail.com) serves as the Editor of the AAAA Checkerboard. Copyright 2024, Antique Advertising Association of America.

Send Us an E-Mail
Facebook  
Visit the AAAA Website